澎湃新闻记者 祝文博 编辑 唐燕丽
实习生 曹星雨
250万粉丝的医学博主“李博士”称其产品一瓶顶医院5针,实际销售的产品是食品。称是哈佛大学6年的研究成果,展示的论文却出自国内。“李博士”向记者表示,确实有不合规的地方,想给记者表示表示。
“一瓶一个月,顶你打五针”“非变性Ⅱ型胶原蛋白补软骨是根本,这个是哈佛大学花了六年时间才研究出来”……又见把压片糖果、运动食品当成药物来卖的直播间,“3·15”的热度还没有过去,又有消费者反映,家里老人遭遇了直播间卖药骗局。
250多万粉丝、身着白大褂,博主“李博士”有两个账号,主页介绍到,“在读医学博士,主攻关节外科,8年临床经验”。
“李博士”有两款主推产品,一款是非变性Ⅱ型胶原蛋白壳寡糖复合片,另一款叫做透明质酸钠非变性Ⅱ型胶原蛋白,这两款产品经常搭配销售,直播间和评论区里有大量的中老年人给予好评。
消费者何女士反馈,家里老人因为信任“李博士”,放弃医院正规治疗了,认为吃了这个产品腿就能好。

“李博士”的直播间很多人都在寻医问药,膝盖变形、半月板损伤,“两个产品吃了很快就能变好”。
记者特意买了“李博士”主推的一款产品“非变性Ⅱ型胶原蛋白”并拆箱:产品发货地在河南三门峡市湖滨区,这与其网店营业执照上的地址一致;包装显示系耐力类运动营养食品,不是保健品,更不是药品;研发公司为利玺增(香港)国际制药有限公司;侧面产品类型写了运动营养食品,耐力类,适宜人群是中长跑、慢跑、快走等运动人群,和广告里宣传的治疗膝盖疼等症状的中老年人并不相符。

另外一款透明质酸的产品,包装上则写明是压片糖果。
何女士告诉记者,她每次向市监局投诉后,“李博士”的网店都会换一个营业执照,从康达日用百货店(经营者“李博士”本人)到助益增康商行(经营者杨某某),目前是术博仕商行(经营者杨某某)。
记者查询最新信息发现,“李博士”宣称的香港制药公司研发,公司股东和董事长都是“李博士”,同时他本人100%持有这个公司股份,股份总数10000HKD,换算成人民币不到9000块,公司成立的时间在去年3月25日。

记者购买的这款产品包装显示生产厂家是山东科举药业,但评论区有人晒出的照片显示,还有另一个生产企业——山东健康源生物工程有限公司,这两个企业属于高新技术企业、专精特新中小企业等。

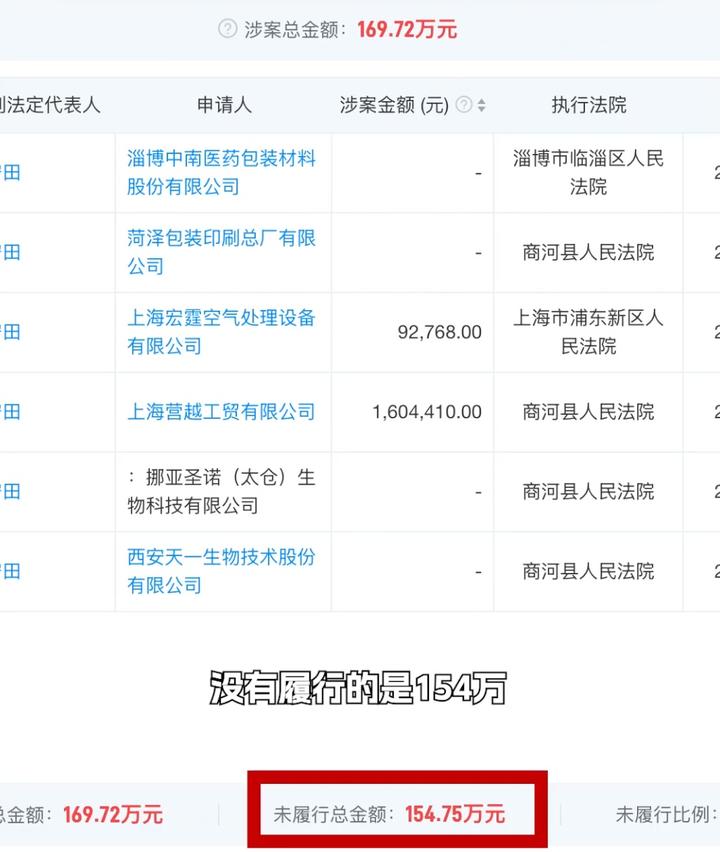
天眼查显示,健康源公司曾18次成为被执行人,被执行总金额为658万余元;6次被限制消费,被执行总金额为169.72万元,未履行金额为154.75万元。2020年和2021年,该公司曾有多次食品抽检被责令整改记录。2025年12月29日,因生产经营超范围、超量使用食品添加剂,该公司被罚没4.6万元。

山东科举药业曾在2022年到2024年市监局的抽查检查中,被责令整改。
记者在两家企业的商品类目中搜索,都没有发现这款产品。科举药业回应澎湃新闻,这款产品只是普通的食品,“李博士”提供配方并委托生产。
在“李博士”直播间,几位主播推介了一篇宣称来自哈佛大学的论文,论文结论为Ⅱ型胶原蛋白能诱导软骨细胞生长。
澎湃新闻查询发现,该论文其实出自2020年《医用生物力学》期刊,作者来自杭州师范大学和农业部规划设计研究院,论文结论并非是非变性Ⅱ型胶原蛋白可以诱导软骨细胞生长,而是该物质可以改善关节活动角度和疼痛感。
在主播用大字遮挡之处,原论文赫然写着“实验地点为杭州师范大学某教学中心”。
口服透明质酸钠、非变性Ⅱ型胶原蛋白到底能不能替代药物,通过网络问诊,多名骨科专家表示,这种产品不能代替药物,口服吸收有限,不能代替注射,软骨磨损用药可以改善,但不能根治,只能注意保护膝盖,才能延缓病情。
被指虚假宣传,又用国内论文当做哈佛大学的成果,“李博士”都把责任归咎在了其他主播身上,但是何女士提供的前期大量直播录屏中,他本人不止一次给出相同的说法。
“李博士”对澎湃新闻表示他是这款产品的研发者,是在已有配方的基础上做了一些更改,和山东科举制药合作生产,产品销量很好,后期为了扩大规模,又和健康源公司合作。
“李博士”是真的医生吗,博士身份又是真的吗?
他曾经在账号中晒过自己参加电视台节目的视频,展示过泰国某大学博士录取通知书等,其首页背景图是他在福建中医药大学大门留影。记者在这档节目当中找到了2020年的片段,“李博士”是作为三门峡市中心医院足踝外科的工作人员参赛,整个出场不足3分钟。医院回复澎湃新闻,“李博士”已经辞职两三年。
在知网,记者找到了“李博士”的硕士论文。论文显示,他2018年毕业于福建中医药大学,临床医学硕士学位,研究方向是四肢骨折与关节损伤。
记者前期以就诊人身份询问“李博士”时,他表示目前在进修考博中,就读医学博士,但是记者通过查询泰国宣素那他皇家大学留学博士专业名录,发现只有公共卫生博士,这与“李博士”正在进修的专业“医学博士”差距还是很大的。
澎湃新闻以记者身份再次询问“李博士”时,他表示之前在三门峡市中心医院骨科做住院医师,2024年考上博士后就辞职,但是他的医师资格证依然有效。
一家泰国留学机构工作人员表示,泰国宣素那他皇家大学没有国际排名,读博三年留学的学费25万左右,在留学学费中算中等,留学生可以选择周末上课,上满一年的课时就可毕业。该校博士实行申请制,至于申请的难度,这位工作人员说,只需要硕士学历,没有语言要求,百分百可上,敢打包票。
值得一提的是,记者采访后“李博士”打来电话沟通,“咱们有没有可能性就说这个协商解决一下,我给咱‘表示表示’,你看能行吗”。
“李博士”网店营业执照所在的金水源区市监所表示已经接到反馈,会进行核实。
此外澎湃新闻发现,记者和“李博士”沟通后,他的直播间话语稍有改善,表示这两款产品卖完两个月就不再继续。
短视频平台中有许多用隐晦话语,暗示产品疗效的食品。主播们用模糊的话术,驴唇不对马嘴的研究展示,让人防不胜防,作为中老年人,不要把网络主播当做治病神医,作为儿女,应该多多关心父母。
本期编辑 邹姗
作者:澎湃新闻








