新黄河记者:苏冉

夸大保险责任与收益、隐瞒合同免责条款、违规向投保人给予合同外利益……寿险公司与财险公司合规管理仍存在普遍短板。据企业预警通统计数据,2026年一季度,金融监管对保险业开出974张罚单,同比增加13%,共有72家保险公司(含分支)被罚没9032万元,销售与信披违规成“重灾区”,行业强监管、严合规的整治态势持续深化。

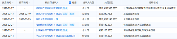
从处罚力度来看,一季度大额罚单频出,共有6家险企单次罚没金额超百万元,其中仅1家为分公司,其余均为总公司。其中,华安财产保险股份有限公司位列险企单次罚没金额榜榜首。
具体来看,今年2月,国家金融监督管理总局发布的行政处罚信息显示,因“未按照规定使用经批准或备案的保险条款、费率,报送数据不准确,跨区域开展业务等”违法违规行为,华安财险被给予警告并罚款386万元。与此同时,华安财险山东分公司被处以罚款60万元,福建分公司被处以罚款35万元。另有十余名相关责任人员被给予警告并罚款共计84万元。

从罚单出具主体来看,一季度保险业罚单主要由国家金融监督管理总局派出机构作出,地域分布上,吉林、广东两地被罚次数位居全国前列,成为保险违规行为高发区域。从违规案由来看,保险机构违规事项呈现高度集中特征,销售行为违规、信息披露违规成为行业两大踩雷的“重灾区”,两类违规对应的一季度罚单数量分别为561张、471张。
销售端违规集中于夸大保险责任与收益、隐瞒合同免责条款、违规向投保人给予合同外利益、虚假宣传误导投保、从业人员无证展业等高频乱象,也是长期以来保险消费投诉的核心诱因。信息披露违规则以财务与业务数据虚假记载、监管报表报送失真、产品信息与重大事项披露不及时不完整为主,直接触碰监管划定的数据真实性底线。
除此之外,一季度披露的违规案由中,公司治理与内控管理违规罚单数量共有228张。其中机构罚单82张,个人罚单146张。而上年同期公司治理与内控管理违规罚单共计173张,其中机构罚单81张、个人罚单92张。对比来看,今年一季度相关从业人员追责处罚占比显著提升。

值得注意的是,2026年第一季度,监管部门对返佣违规行为的处罚力度显著加强,呈现覆盖面广、金额高、机构与个人“双罚”的特点。
2026年以来,大地财险旗下多家分支机构接连因返佣类违规行为被监管部门处罚,是受罚最为集中的保险公司之一。2026年2月,国家金融监督管理总局宁夏监管局公布行政处罚,中国大地财产保险股份有限公司宁夏分公司因向投保人提供保险合同之外的额外利益,被处以机构与个人合计67万元的罚款。其中,大地财险宁夏分公司本身被罚款30万元;时任总经理、总经理助理、新零售/线上渠道部总监、客户运营部/续保管理部负责人等4名核心管理人员分别被警告并罚款10万元、10万元、10万元、7万元,4人合计被罚37万元。

此外,从涉罚机构类型来看,一季度罚单主要集中于寿险公司与财险公司,覆盖头部险企与地方中小保险机构,反映出全行业合规管理仍存在普遍短板。行业人士指出,随着《保险销售行为管理办法》等监管制度全面落地,未来监管将持续聚焦消费者权益保护、经营数据真实性、公司治理有效性三大核心方向。合规不是选择题,而是生存线。各机构应强化合规经营底线,以案为鉴,将合规经营、消保理念融入业务发展全流程。

编辑:刘雨 校对:汤琪








